預制構件深化設計技術研究及案例分析

點擊數: 【字體: 收藏 打印文章
 1 清水混凝土外墻掛板建筑方案優化設計研究
1.1 軟通動力研發樓
本項目位于北京市海淀區中關村軟件園,建筑高度為20.7m,地上5層、地下2層,首層層高4.2m,二至五層層高3.9m。建筑平面為矩形布置,軸網間距8.4m,主體結構為鋼筋混凝土框架剪力墻,外墻采用清水混凝土掛板系統(圖1,2)。
圖1-2 軟通動力研發樓外景和細部

1.1.1 建筑外墻方案比較
此建筑外墻原設計方案擬采用石材幕墻系統,經過北京預制建筑工程研究院與業主及設計單位的協調,咨詢方提出可采用預制混凝土外墻掛板系統方案,飾面為清水混凝土效果。通過對兩種幕墻方案優缺點比較(表1),綜合考慮外墻立面效果、墻身做法和性能、工程造價等因素,業主和設計單位一致認同咨詢方的預制外墻方案。
1.1.2 外墻掛板分塊方案優化
立面分格方案的優化有利于提高預制建筑項目的技術經濟性和實施效果。依據此項目的立面造型特點,我們對立面分格方案進行了對比研究。
 
表1 外墻方案優缺點比較
對比項目
預制混凝土外墻掛板系統
石材幕墻系統
1
立面效果
墻面單元整體預制,清水混凝土裝飾效果,拼縫較少,非常適合此項目立面分格方案
石材分塊較碎,不能體現立柱的挺拔感和整體單元的重復性
2
造價方面
清水混凝土板替代石材、龍骨、圍護墻,安裝簡便,經濟性好
石材幕墻系統龍骨及預埋件用量大,保溫材料要求高,綜合造價較高
3
防火性能
230mm厚清水混凝土掛板耐火性能突出
鋼龍骨和預埋件防火性能較弱
4
構造細節
通過模板制作工藝將滴水、坡水、斜面、防水啟口等細部整體預制
細節做法較復雜
5
安裝方面
節點簡單便于操作,吊裝一次便可完成安裝,安裝效率高
因分塊很碎、埋件龍骨較多,安裝步驟復雜,工作量大,效率低
 
方案1是以一個窗口為預制單元的分格方案(圖3),
圖3 外墻掛板分塊方案1
 
方案2是以兩個窗口為預制單元的分格方案(圖4)。
圖4 外墻掛板分塊方案2
從立面效果、原方案設計改動量、結構埋件預留數量、生產效率和安裝效率等五個方面,對兩個方案進行比較(表2),可知方案2優于方案1。最終的優化方案得到了業主和設計方的一致認同。
表2 立面分格方案比較
 
立面效果
立面改動
預埋件數量
生產效率
安裝效率
方案1
有明縫
較低
較低
方案2
無明縫

1.1.3 外墻掛板建筑構造設計
本項目建筑構造設計主要包括防水、防火、保溫等,由于混凝土板厚度為230mm,外掛板自身的防水、防火性能優越,關鍵是做好接縫防水構造、節點防火和層間防火構造,具體做法如下:
(1)所有接縫防水構造采用材料防水和構造防水相結合的方式,外掛板水平縫防水構造是在外掛板上下口預留啟口,外掛板安裝完成后外側填塞背襯材料,并用建筑密封膠封閉(圖5a)。
圖5(a)水平縫構造
(2)掛板豎縫為“L”形接縫,具有構造防水特點,外層用填塞背襯材料并嵌固建筑密封膠封閉(圖5b)。
圖5 (b)豎向縫構造

(3)窗口周邊做防水企口,窗框與掛板接縫用密封膠封閉,上口做滴水槽,下口做坡水設計(圖5c)。
圖5(c)窗口構造
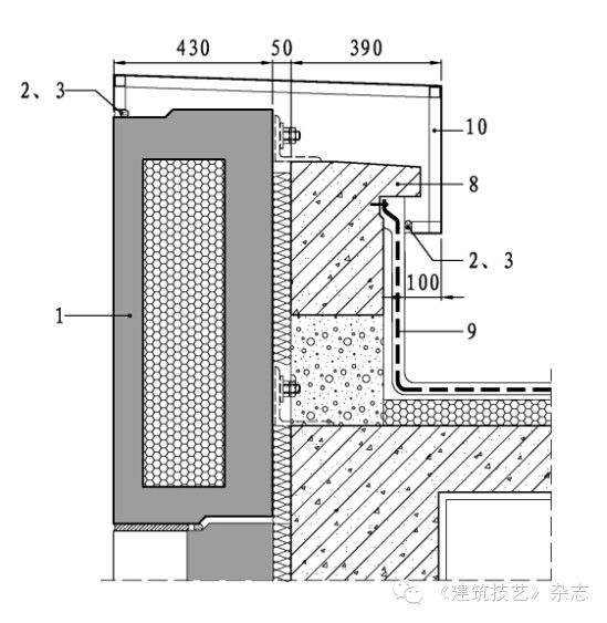
(4)外掛板與現澆結構之間的安裝拼縫用巖棉保溫板填塞,女兒墻處外掛板與現澆墻之間的安裝間隙采用金屬鋁扣板壓頂封閉,可有效解決朝天縫的防水問題(圖5d)。
圖5(d)女兒墻構造

(5)外掛板水平接縫處于結構梁中間,所以水平接縫防火重點是做好層間防火,在外掛板與主體結構之間預留的50mm的施工安裝縫內填塞巖棉并用彈性砂漿封閉接縫外口,這樣兼顧保溫和防火構造(圖5b)。
(6)主體結構梁上下口均有掛板安裝節點,這是防火的重點,我們采用半濕法噴涂巖棉的方式將安裝節點封閉。
(7)此項目外圍護采用內保溫構造做法,符合項目自身設計要求,所有內保溫采用50mm厚自熄型擠塑聚苯板,外掛板與主體結構的間隙采用巖棉保溫填縫形成完整的保溫體系。

1.1.4 外墻掛板連接構造設計
混凝土外掛板的自重較大,在考慮地震設計工況的情況下,每塊外掛板設兩個牛腿支撐點,外掛板豎向荷載可通過結構挑出鋼牛腿將自重傳遞給主體結構。水平荷載主要考慮外掛板自身重心偏移造成的水平力、水平地震效應和風荷載效應值的組合,每塊外掛板設置了4個用于水平限位的拉壓節點,用以承受平面外的荷載作用。當外掛板承受外力時節點能夠自由滑動,較好地滿足了掛板在溫度或地震作用下產生的變位要求。經過設計優化和論證,得到外掛板節點連接構造設計(圖6)。
圖6 連接構造詳圖
 
由于該項目建筑平面尺寸較大墻板的水平向和豎向均采用企口接縫。外掛板的安裝順序非常關鍵,設計階段應考慮掛板安裝順序,豎向要求從低到高逐層安裝,水平向應從四個角點向中間安裝,經過反復研究和優化,制訂平面安裝動線(圖7)。
圖7 平面安裝動線
1.2 中建技術中心試驗樓改擴建工程
本項目位于北京市順義區林河開發區,建筑高度為35.3m,地上7層、地下1層,首層層高5.1m,二層層高3.9m,三層層高5.7m,四至七層層高4.5m。建筑平面為矩形布置,軸網間距10m,主體結構為現澆鋼筋混凝土框架-剪力墻結構,外墻采用預制清水混凝土掛板系統(圖8)。
圖8 中建技術中心試驗樓
1.2.1 建筑外墻方案比對
該項目建筑方案的外飾面效果初期考慮石材和清水混凝土兩種風格,經過調研和方案比較,業主最終確認采用清水混凝土為實施方案。
1.2.2 外墻掛板分塊方案優化
建筑師確定的標準掛板尺寸為3 . 7 m長、1.6m高。深化設計時發現立面分格線與主體結構的軸線、標高沒有對應關系,這就使預制外墻掛板與主體結構的連接比較復雜,龍骨體系的布置與主體結構發生沖突。由于掛板型號與節點類型很多,給生產和安裝帶來諸多不便,造價較高。為此,我們做了分塊方案優化。
水平方向調整分格方案,讓板縫分割線和軸線建立定位關系,適當調整掛板的寬度尺寸;標高方向增設豎向龍骨,預制外墻掛板與鋼龍骨或混凝土結構梁連接。調整后的立面細部如圖9所示,較好地滿足了建筑設計要求。
圖9 中建技術中心試驗樓細部
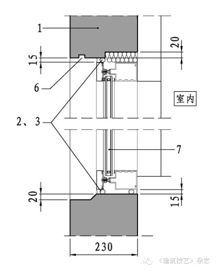
1.2.3 外墻掛板連接構造設計
參考《金屬與石材幕墻工程技術規范》的設計方法進行預制混凝土掛板的龍骨系統設計,主龍骨受力以拉彎桿件設計,上下節點均按鉸接連接設計,下端節點做成上下可滑移節點構造。掛板與龍骨、龍骨與主體結
構的連接構造詳見圖10,11。
圖10 外掛板與龍骨連接構造做法
 
圖11 龍骨與主體結構連接構造做法
 
2  三維協同設計技術在預制建筑構件深化設計中的應用
2.1鄂爾多斯市體育中心體育場
本項目位于內蒙古自治區鄂爾多斯市,主體采用鋼筋混凝土框架-剪力墻結構體系,看臺坐席數6萬座,分低區、高區看臺,所有看臺采用清水混凝土預制看臺系統(圖12)。
圖12 鄂爾多斯市體育中心-體育場效果圖
圖13 鄂爾多斯體育場整體模型
2.1.1 項目背景
此項目工期短、難度大,從設計、施工到構件加工、現場裝配都有難度,再加上設計院前期提供的圖紙不是很完善,只有體育場整體模型(圖13),尤其是二層看臺現澆階梯梁平面布置復雜,平面投影呈折線形,設計院結構專業沒有定位圖,提供的計算模型導出圖(圖14)可以作為參考,但不能作為指導深化設計的依據,所以此現澆階梯型折線梁的空間定位
設計是項目進展的關鍵節點。如此,導致預制看臺的平面分塊無法確定,與之相關聯的工作不能往前推進,給深化設計帶來很大阻礙。
圖14 結構計算模型導出圖
2.1.2 結構模型校核
現澆階梯型折線梁空間定位設計最好的解決方案是采用三維協同設計,通過建立三維模型復核結構尺寸,準確定位折線梁的空間位置,之后請設計院的設計師復核確認,
作為今后設計、施工的重要依據。此步工作的重要性在于能夠推動整個項目的進展,減輕深化設計的經濟成本和工期壓力。
在深化設計前,我院分別建立現澆主體結構模型和預制看臺模型,將兩個建好的模型進行組合套圖,查找預制看臺系統和現澆主體結構有無相碰或不交圈的部位,該方法對于出入口等空間結構復雜的位置檢查非常必要(圖15~20)。
圖15 現澆主體結構模型
圖16 預制看臺模型
圖17 現澆主體結構和預制看臺組合模型
圖19 預制看臺出入口模型分析
圖20 預制看臺安裝現場圖
 
2.2 中糧萬科長陽半島5#地塊
本項目位于北京市長陽鎮,主體地下部分采用現澆鋼筋混凝土-剪力墻結構,地上部分采用預制混凝土裝配整體式剪力墻結構。產業化樓建筑面積約9萬m2,最高樓棟建筑地上11層,建筑高度為31.9m。
2.2.1 項目概況
本項目是住宅產業化項目,工業化預制率達到了61%,預制構件種類較多,有外墻、內墻、陽臺、疊合、挑板、防火隔板、外掛板、樓梯、梯梁、女兒墻共10種。
圖21 中糧萬科長陽半島住宅樓平面布置圖

建筑設計采用了業內較為先進的設計理念,如24小時新風負壓系統、橫向排煙系統等內裝部品化集成技術、SI內裝分離與線管集成技術等,這些設計手法對于深化設計而言將增加更多的工作量和難度,將這些復雜繁多的
預留、預埋在深化設計階段完成是非常困難的事情,并且檢驗設計圖紙是否準確也是一項重要工作。我們采用三維協同設計,首先建立每塊預制構件的三維模型,然后將所有預制構件組建標準單元或典型樓棟的三維模型,這個過程相當于在虛擬環境下拼裝建筑,用模型檢查建筑構造和構建外形是否正確。
 
該項目深化設計的最大阻礙在于基礎條件圖紙不能在深化設計階段提供,這樣后期設計變更較多,加大了深化設計的工作量,也給圖紙的準確性帶來隱患,我們只能通過修改三維模型消化改動量,再由三維變為平面三視圖完成變更。
 
2.2.2 深化設計
依據該項目的特點,在做產業化預制構件深化設計時先做施工圖集成設計研究,再做加工圖拆分詳圖設計,將所有預留預埋、構件分塊等內容在施工圖中集中體現,綜合考慮構件連接處的細部構造,再將每塊構件從整體裝配圖中拆分出來。
圖22 中糧萬圖科長陽半島住宅樓三維透視圖

(1)施工圖集成設計的最大問題是水電、預留、洞口等集成,任何一項都要保證不能有交叉、碰撞、漏項的情況發生,并且每塊構件都有自己的編號,對于它的空間位置關系及與相鄰板塊的連接構造都必須十分
清晰,需要根據平面布置圖(圖21)建立三維透視圖校驗(圖22),對于樓梯間部位及室內典型部位也需要分別采用局部透視圖校
驗(圖23,24)。
圖23 中糧萬圖科長陽半島住宅樓樓梯間部位透視圖
圖24 中糧萬圖科長陽半島住宅樓室內局部透視圖

(2)產業化預制構件加工圖設計不但要求繪圖人員能夠準確繪制出構件外形,還要了解每種類型構件的加工成型工藝和預制構件裝配方案,將加工技術要求在構件加工圖中整體表達出來,設計深度必須滿足構件
現場生產要求,圖25~28是幾種典型預制構件三維模型。
圖25 中糧萬圖科長陽半島住宅樓復合保溫外墻板
圖26 中糧萬圖科長陽半島住宅樓預制內墻板
圖28 中糧萬圖科長陽半島住宅樓預制樓板疊合底板
3 結語
預制建筑深化設計工作是保證項目實施的關鍵環節,該工作不但涉及建筑方案研究、各專業施工圖配合等,還需要和預制公司及施工安裝單位密切配合,充分研究項目實施過程中的細節問題,做到預制建筑實施的技術經濟性統一。
深化設計人員應具備建筑和結構專業的系統培訓,熟練應用各種繪圖軟件及三維協同設計等工具,掌握構件預制和施工安裝的基本要領并取得預制建筑工程實施經驗,才能使深化設計工作有序開展,從而保證預制項目的實施質量。
預制建筑深化設計工作可由精通預制技術的專業公司完成,設計成果需得到工程設計單位的審核確認后方可實施。
 
祁成財
北京預制建筑工程研究院有限公司設計部長。
蔣勤儉
北京預制建筑工程研究院院長,北京榆構有限公司總工程師。兼任住建部建筑制品和構配件標準化技術委員會委員、北京市住宅產業化專家委員會委員、中國混凝土與水泥制品協會副秘書長及預制構件分會理事長等。主持北京市科委重大科技專項課題《住宅工業化關鍵技術研究》、國家十二五科技支撐項目《新型預制裝配式建筑集成技術研究與示范》等。
 
 
  
 
作者: 來源: 發布時間:2014年09月28日
相關信息
沒有相關內容
用戶信息中心
最新推薦
本月排行TOP50
  • 還沒有任何項目!